![]()
+9![]() ![]() |
![]() ![]() |
![]() ![]() |
![]() ![]() |
![]() ![]() |
![]() ![]() |
![]() ![]() |
![]() ![]() |
![]() ![]() |
![]() |
![]() |
![]() |
![]() ![]() |
![]() ![]() |
![]() ![]() |
![]() ![]() |
![]() ![]() |
|
JIS(日本工業規格)
同じ形状・同じ質量をもった商品の製品特性を統一し、製造会社が代わっても、支障なく使用できるようにと規格された鉱工業品を指しています。
コノエ測量事業部大阪が認証取得を目指している「JIS B 7914-2(標識くいー第二部:金属びょう)」としてJISが制定されており、現在 JISマーク表示制度認証取得に向けて準備中です。ISOが認証会社へ与えられる品質マネジメントシステムなのに対し、JISは製品個々に与えられるのがJIS(日本工業規格)です。
JISと一口に言っても下記に示すように業界毎にアルファベッドで分類されております。
| JIS A (土木建築) | JIS B (一般機械) | JIS C (電子機械・電気機械) |
| JIS D (自動車) | JIS E (鉄道) | JIS F (船舶) |
| JIS G (鉄鋼) | JIS H (非鉄金属) | JIS K (化学) |
| JIS L (繊維) | JIS M (鉱山) | JIS P (パルプ及び紙) |
| JIS S (日用品) | JIS T (医療安全器具) | JIS Z (その他) |
では、測量業界におけるJISについてご説明致しましょう。
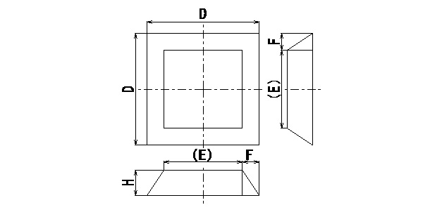
JIS B 7914-2(標識くいー第二部:金属びょう)として 先ず、商品の形状は、@かく型 A面取りかく型 B球面丸型 C平面丸型の4タイプのみで、
@かく型は、平面の貼付・BTタイプを言い 主な材質はアルミ製です。
A面取りかく型は、真鍮M-14Bやアルミダイカストシリーズ化のMV系等商品表面に面取りが施されている商品を指します。
B球面丸型は、従来の基準鋲と呼ばれております真鍮φ30〜真鍮φ100までの鋲を指しております。
C平面丸型も真鍮φ30〜真鍮φ100までのフラットタイプを指しております。
それでは寸法規格の説明をさせて頂きます。
かく型・面取りかく型 寸法規格
| @かく型 | 単位(mm) | |||||
| 辺長D | 厚さH(許容差±0.3) | |||||
| 許容差 | +1 | 2 | 3 | 4 | 5 | 10 |
| 0 | ||||||
| 30 | ○ | ○ | ○ | ○ | - | |
| 35 | ○ | ○ | ○ | ○ | - | |
| 40 | ○ | ○ | ○ | ○ | - | |
| 45 | ○ | ○ | ○ | ○ | ○ | |
| 50 | ○ | ○ | ○ | ○ | ○ | |
| 55 | ○ | ○ | ○ | ○ | ○ | |
| 注記 ボトル付き形はH=10のみ。 | ||||||
| A面取りかく型 | 単位(mm) | |||||
| 辺長D | 厚さH(許容差±0.3) 面取り寸法(許容差±1) |
|||||
| JIS G | +1 | |||||
| 0 | ||||||
| 45 | H | 3 | 4 | 5 | 10 | |
| F | 3 | 4 | 5 | 5 | ||
| 50 | H | 3 | 4 | 10 | 10 | |
| F | 3 | 4 | 5 | 10 | ||
| 注記1 E=D=2F 注記2 ボトル付き形は、H=10のみ |
||||||
球面丸形及び平面丸形寸法規格
| 直径D (許容差±0.3) |
厚さH (許容差±0.2) |
中心線長C |
| 30 | 8 | 5以上 |
| 50 | 10 | 5以上 |
| 60 | 10 | 5以上 |
| 63 | 10 | 5以上 |
| 75 | 10 | 10以上 |
| 80 | 12 | 10以上 |
| 100 | 15 | 10以上 |
上記のようになっており、寸法規格に該当が無ければ、測量明示業界におけるJIS製品としては、認められておりません。
また、球面丸型や平面丸型などで、表面に十字(中心線)が彫刻されていない商品も寸法規格が合致していても、JIS製品として認められない決まりになっております。 詳しくは、JIS規格票 JIS B 7914-2 (標識くいー第二部:金属びょう)を確認して頂くか、弊社までお問い合わせ下さい。
※尚、JIS認証取得後から生産された商品には、JIS表示が許可されております。今暫くお待ち下さい。
コノエの境界プレートは主に真鍮境界プレート、ステンレス境界プレート、アルミ境界プレートの3種類になります。境界プレートは敷地の境界に貼り付けたり、打ち込んだりします。
境界プレート種類は貼り付けタイプと1穴タイプと2穴タイプの3種類があります。
コノエ境界プレート貼り付けタイプの場合は専用ボンドで貼り付けます。コングルーボンドやK120と言った専用ボンドで貼り付けます。
コノエ境界プレート1穴タイプはアンカーピン1本を使用して穴の中にアンカーピンを打ち込み境界プレートを固定します。
コノエ境界プレート2穴タイプはアンカーピンを2本を使用して穴の中にアンカーピンを打ち込み境界プレートを固定します。
コノエ境界プレート真鍮の特徴としては、境界に貼り付けた場合はとても豪華に見えますし、真鍮製ですのでさびに強いです。しかし、年月が経つと黒くなります。厚みは2mmですが、とても頑丈です。アンカーを打ち込んでも曲がる事はあまりありません。おすすめです。
それぞれの境界プレート種類の特徴は以下になります。
ステンレス境界プレートの特徴としては、ステンレス製ですので、とても耐久性に強いです。年月が経つと白くなります。
アルミ境界プレートの特徴としては、安価な価格がとても人気です。貼り付けたときに2mmの厚さと4mmの厚さを選べます。種類も豊富ですので良く境界線には貼り付けられています。2mmの厚さはアルミは強度がありませんので、曲がってしまう事もあります。強度をお考えの方は真鍮が良いと思います。
境界プレートは3種類の中からいろんな種類を選べてその時々で使い分けて頂けるコノエが誇るロングセラー商品になります。
コノエはJISも取得していて承認願いも出せますのでとても安心してお使いいただけます。
国土交通省境界プレートとして、用地境界として、境界標として、永続性があり、サイズによって使い分けされており、境界標として埋設する場所、貼り付ける場所もさまざまです。













































